Article Archive
Article Archive
- Introduction of Cement Slurry System (Part 1)
- Introduction of Cement Slurry System (Part 2)
- Introduction of Cement Slurry System (Part 3)
- Introduction of Cement Slurry System (Part 4)
- High Temperature and High Pressure Cementing Technology
- Low Density Cementing Slurry Technology
- Anti Gas Channeling Cementing Technology
- Drag Reducing Agents (DRA) or Drag Reducers (DR)
- Nitrogen Surfactant Compound Huff and Puff Technology
- Oil Washing Technology for Increasing Production
The utility model relates to an equipment for injecting additives into a crude oil pipeline, in particular to an injection device for crude oil drag reducer.
Background technology:
When crude oil is transported in the pipeline, the flow of crude oil in the pipeline is limited due to the existence of friction resistance, which results in the decrease of pipeline transportation efficiency and increase of energy consumption. Crude oil drag reducer is a kind of chemical additive widely used in crude oil pipeline transportation. It can reduce the flow resistance by restraining the turbulence of oil in the flow, effectively improve the pipeline transportation, reduce the pipeline pressure, save energy, and improve the safety factor of pipeline operation.
At present, the heavy oil in some oilfields in our country has a high content of gum and asphaltene, which has the characteristics of high viscosity, high wax content, high pour point and poor fluidity, which makes the flow resistance in the transportation process larger. It is not only unable to improve the current situation, but also greatly increases the transportation cost. Because of the quick effect of crude oil drag reducer, the cost is often low Popular.
At present, there are more and more crude oil input pipelines, various oil depots and transfer battlefields are established correspondingly, and the application of crude oil drag reducer is also increasing, so it needs a kind of equipment to inject drag reducer into the crude oil pipeline. Generally, the discharge device of drag reducer has only one way, so when the equipment is damaged or needs maintenance, it needs to stop work for maintenance or replacement, which affects the work At the same time, in order to reduce the number of intermediate pump station and the area of equipment, and save the operation cost of the enterprise, it needs a device with compact structure, convenient installation, simple operation and high working efficiency.
Technical implementation elements:
The utility model aims to provide a crude oil drag reducer filling device with compact structure, convenient installation, simple operation and high working efficiency.
The technical purpose of the utility model is realized by the following technical scheme: a filling device of crude oil drag reducer, including a discharging mechanism and a feeding mechanism, a discharging mechanism including a bracket and a feeding tank fixedly connected on the bracket, the bottom end of the feeding tank fixedly connected with a discharging pipe, the end of the discharging pipe fixedly connected with a gear pump, and the gear pump fixedly connected with a conduit, The conduit is provided with a first discharge port and a second discharge port, the first discharge port and the second discharge port are fixedly connected with the same and parallel feeding mechanism, the feeding mechanism includes a feeding pipe, the feeding pipe is sequentially connected in series with a feeding ball valve, a metering pump and a control valve, and the top of the feeding pipe is connected with an injection pipe.
By adopting the above scheme, the gear pump pumps the crude oil drag reducer in the feeding tank into the conduit through the discharge pipe, closes the liquid inlet ball valve, metering pump and control valve of one of the feeding mechanisms fixed on the first discharge port and the second discharge port, and opens the liquid inlet ball valve, metering pump and control ball valve of the other feeding mechanism, so that the crude oil drag reducer in the conduit passes through the feed pipe It enters into the injection pipe and then into the oil pipeline; when the feeding mechanism in operation is damaged or needs to be repaired, close its feeding mechanism and open another feeding mechanism to inject crude oil drag reducer into the oil pipeline. At this time, there is no need to stop work for repair or replacement, which improves the working efficiency. Moreover, the equipment is compact in structure, convenient in installation and simple in operation.
The bottom end of the gear pump, the conduit and the metering pump is provided with a bench, which includes a base plate, four ends of the base plate are fixedly connected with four vertical support columns, the support column is slidably connected with a support plate, and the gear pump, the conduit and the metering pump are fixedly connected with the support plate.
By adopting the above scheme, the gear pump, conduit and metering pump are fixedly connected to the support plate, and the support plate is slidably connected to the bench, so as to facilitate the adjustment of the height of the gear pump, conduit and metering pump. A scale is arranged on the outer side of the support column.
By adopting the above scheme, a scale is arranged on the outer side of the support column, so as to check whether the adjusted support plate is on the same horizontal plane.
A wedge-shaped mechanism is arranged between the base plate and the support plate. The wedge-shaped mechanism comprises an upper wedge-shaped block and a lower wedge-shaped block. The upper surface of the upper wedge-shaped block is fixedly connected with the support plate through bolts, and the lower surface of the upper wedge-shaped block is butted with the upper surface of the lower wedge-shaped block.
By adopting the above scheme, a wedge-shaped mechanism is arranged between the base plate and the support plate. The wedge-shaped mechanism includes an upper wedge block and a lower wedge block. The upper surface of the upper wedge block is fixedly connected with the support plate by bolts, and the lower wedge block is driven to move by external force. The upper wedge block will move up and down along the slope of the lower wedge block, driving the support plate to move up and down, and then the height of the injection pipe can be adjusted.
The lower wedge block is fixedly connected with a screw, the screw is fixedly connected with a bearing, the screw is fixedly connected with the inner ring of the bearing, and the outer ring of the bearing is fixedly connected with the bottom plate.
By adopting the above scheme, by applying external force to the screw, the screw rotates in the bearing, and then drives the movement of the lower wedge block. The use of the screw is convenient for applying the force on the lower wedge block.
One end of the screw is provided with a hand wheel.
By adopting the above scheme, it is convenient to apply the force on the screw.
The upper surface of the bottom plate is provided with a sliding groove, and the wedge mechanism is slidably connected with the sliding groove.
By adopting the above scheme, the chute is favorable for the sliding of the wedge-shaped mechanism on the base plate, and plays a role in positioning the wedge-shaped mechanism.
The return pipe is fixedly connected with the return pipe, and the other end of the return pipe fixedly connected with the return pipe is inserted into the tank from the top of the feeding tank.
By adopting the above scheme, when there are too many crude oil drag reducers in the feed pipe of gear pump, the pressure of the pipe will be too large. The crude oil drag reducers will return more crude oil drag reducers to the feeding tank through the return pipe to avoid waste of crude oil drag reducers. In addition, the crude oil drag reducers in the return pipe will flow out of the bottom end of the feeding tank and into the top end of the feeding tank, It also stirs the crude oil drag reducer in the feeding tank.
The bottom end of the platform is fixedly connected with a directional wheel.
By adopting the above scheme, the bottom end of the platform is fixedly connected with a directional wheel to facilitate the movement of the platform.
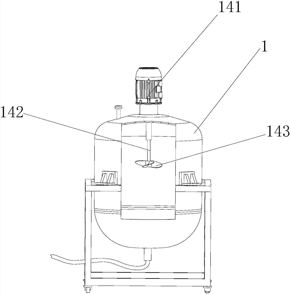
The top of the charging tank is provided with a stirrer.
By adopting the above scheme, the top of the feeding tank is equipped with an agitator, which can agitate the crude oil drag reducer in the feeding tank, prevent the crude oil drag reducer from settling and affect the effect of the crude oil drag reducer.
In conclusion, the utility model has many beneficial effects: the device has compact structure, convenient installation, simple operation and high working efficiency.




